精密電流互感器的基本簡介
發布時間:2018-07-27
瀏覽數:232
精密電流互感器主要適用于電力、計量、廠礦、研究單位以及試驗室等,用于電流量值傳遞、精密電流測量,也可作為標準用來檢定電流互感器等設備。國電中星是電力檢測設備生產廠家,生產并銷售數百臺精密電流互感器,本節中為大家簡單介紹精密電流互感器的基本情況。

結構
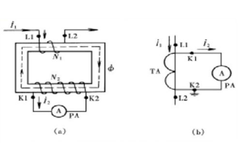
精密電流互感器是由一次繞組和二次繞組組成,電流互感器接被測電流的繞組,稱為一次繞組(或原邊繞組、初級繞組);接測量儀表的繞組稱為二次繞組(或副邊繞組、次級繞組)。其原理如圖1(a),接線時嚴格參照接線牌所給出的電流比進行接線,如圖1(b)。L與K分別是一次、二次繞組的極性端。

圖1
用途
精密電流互感器的用途是作為標準來檢定比其低兩級或兩級以下準確等級的電流互感器、電流表、電能表和功率表,也作為擴大量限裝置,用來精密測量電流、電能和功率。
自校
若精密電流互感器有1/1電流比時,則可經常進行自校,以考核其精準度。自校線路如圖2。To為標準電流互感器,Tx為被檢電流互感器,Z為被檢電流互感器所帶的負荷。

圖2
檢定
精密電流互感器檢定比其低兩級及以下準確等級的互感器時,線路如圖3。

圖3
國電中星生產的ZXHL系列精密電流互感器是便攜式,不帶升流器,體積小,重量輕,適用于現場,HLS系列精密電流互感器自帶升流器,接線簡便,適用于實驗室。國電中星生產多種類型的精密電流互感器,規格齊全,歡迎咨詢訂購!
上一篇:微水測量儀的工作原理
下一篇:精密電流互感器的工作原理
027-65526006
027-65526007
在線客服